Samsung, iespējams, tiek gatavota elektroniskā sejas maska. Nesen publicētā Dienvidkorejas konglomerāta patenta pieteikumā ir aprakstīta maska, kas aprīkota ar procesoru, gaisa filtriem, sensoriem, ventilatoru un daudz ko citu. Tas izfiltrē putekļu daļiņas un citas nevēlamas vielas no gaisa, lai jūs varētu elpot tīru gaisu.
Samsung patents parāda elektronisku masku, kas palīdz attīrīt gaisu, ko elpojat
Sākotnēji tas tika iesniegts Korejā 2023. gada februārī, bet Amerikas Savienoto Valstu Patentu un preču zīmju birojs (USPTO) publicēja šo Samsung patenta pieteikumu 2024. gada 28. martā. Patents ir paredzēts elektroniskai maskai un tās kontroles metodei. MSPowerUser atklātais 32 lappušu oficiālais dokuments atklāj tā darba metodi un funkcijas.
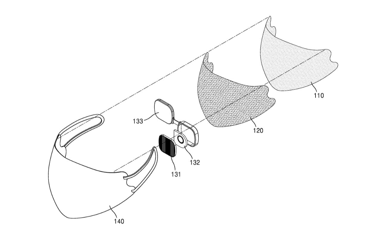
Maska atbalsta dažāda veida filtrus, piemēram, MA-60, MA-80 vai MA-94, lai attīrītu gaisu, ko elpojat. Filtru malās ir krāsaini raksti. Krāsas atšķiras atkarībā no filtra pakāpes, tāpēc sistēma var noteikt filtra veidu, pamatojoties uz šīm krāsām, un attiecīgi pielāgot pārējos iestatījumus. Samsung arī aprīkojis filtrus ar sensoriem visos stūros, lai noteiktu netīrumu līmeni.
Procesors izmanto datus no šiem sensoriem, lai automātiski pielāgotu ventilatora ātrumu. Ja filtri ir netīri, ventilators griežas ātrāk, lai ātrāk noņemtu putekļus. Ja tie nav tik netīri, tas palēnināsies, lai taupītu akumulatoru. Visa iestatīšana darbojas vienlaikus, lai filtrētu putekļus un ievadītu tīru gaisu jūsu ķermenī. Varat to valkāt, viesabonējot pa pilsētu, sabiedriskās vietās vai treniņu laikā.

Jūs varat redzēt statistiku mobilajā lietotnē
Samsung elektroniskajai maskai būs pievienota mobilā lietotne, kas sniedz dažādu statistiku un informāciju. Jūs varat redzēt pašlaik uzstādītā filtra pakāpi. akumulatora uzlādes līmenis, ventilatora ātrums, maskas lietošanas ilgums, vidējais ieelpu skaits minūtē, filtrētā gaisa daudzums šajā periodā un citi. Varat arī kontrolēt dažus iestatījumus, izmantojot lietotni.
Tāpat kā visiem patentu pieteikumiem, nav garantijas, ka Samsung izmantos šo produktu. Tomēr, tā kā gaisa piesārņojuma līmenis pasaulē pieaug, nākotnē var rasties elektronisko masku tirgus. Iespējams, ka Korejas lielvalsts novērtē šo nozari un varētu izlemt par nākamo soli. Pat ja Samsung nolemj izgatavot elektronisku masku, tas var vai nevar izvēlēties šo dizainu.

