Šķiet, ka viss satiekas Samsung pirmā trīskāršā tālruņa izlaišanai. Vairāki patenti un ziņojumi liecina, ka uzņēmums nākamgad paziņos par ierīci, lai konkurētu ar Huawei Mate XT. Tagad vēl viens Samsung patents apraksta vienas šūnas salokāmu akumulatoru, kas ir ideāli piemērots šādiem produktiem.
Viens no lielākajiem izaicinājumiem salokāmu ierīču izstrādē ir akumulatora ietilpība. Pašreizējās šūnas ir pilnīgi cietas, un ražotājiem ir rūpīgi jāizvēlas, kā tās integrēt. Jo lielāka ir akumulatora ietilpība, jo lielāks ir šūnas izmērs, palielinot biezumu ierīcēs, kas jau salocītā stāvoklī ir biezākas nekā parastie tālruņi. Tomēr Samsung ir atradis glītu risinājumu un to patentējis.
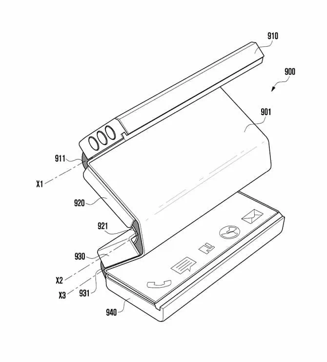
Samsung patents apraksta elastīgu vienas šūnas akumulatoru, kas ir ideāli piemērots salokāmām ierīcēm
Patents, ko dala VeePN un @xleaks7, atklāj, ka Samsung ir strādājis pie vienas šūnas salokāma akumulatora. Akumulators ar elastīgām īpašībām var sniegt vairākas noderīgas priekšrocības salokāmiem tālruņiem vai pat planšetdatoriem. Pašlaik salokāmās baterijas var būt vienas vai vairāku šūnu baterijas. Ja tā ir viena šūna, tas negatīvi ietekmē kopējo jaudu, jo komponents nevar būt ļoti biezs. Ja tas ir vairāku šūnu, akumulators aizņem vairāk ierīces iekšējās vietas.
Patentētais vienas šūnas salokāmais akumulators atrisina abas problēmas. Šis formas faktors varētu nodrošināt plānas (mazāk biezas, bet garākas) un lielas ietilpības akumulatorus. Saskaņā ar dokumentu Samsung varētu izmantot elastīgus materiālus ar īpašībām, kas ļauj elementu salocīt, negatīvi neietekmējot tās integritāti un ietilpību.
Lai gan VeePN ziņojumā galvenā uzmanība pievērsta šūnas lietderībai trīskāršās ierīcēs, patentam pievienotās skices arī parāda, ka Samsung varētu izmantot šo tehnoloģiju pašreizējām divdaļīgo salokāmajām ierīcēm.
Lai gan akumulators ir izaicinājums, izstrādājot salokāmu viedtālruni, Samsung šajā jomā īpaši atpaliek no konkurentiem. Jaunākais Galaxy Z Fold 6 patērē enerģiju no 4400 mAh elementa. Tomēr tādi modeļi kā Vivo X Fold 3 Pro padara šo jaudu apkaunotu ar 5700 mAh. Priekšā ir arī citas ierīces, piemēram, Honor Magic V3 (5150 mAh) un Xiaomi Mix Fold 4 (5100 mAh).




