Pixel 11 Pro Fold var atbalstīt vienkāršāku akumulatora remontu

Tagad, kad ir 2026. gads, sāk parādīties Pixel 11 sērijas informācija, un šķiet, ka viena no pirmajām detaļām, kas tiek atklāta, ir par Google Pixel 11 Pro Fold un baumām par tā akumulatoru. Konkrēti, baumas attiecas uz patentu, ko Google ir iesniedzis Amerikas Savienoto Valstu Patentu un preču zīmju birojā par noteiktiem dizaina aspektiem. Daļa no patenta ir vērsta uz izmaiņām Pixel 11 Pro Fold akumulatora dizainā, un baumas liecina, ka šīs izmaiņas varētu radīt vairāk remontējamu ierīci, ja akumulators kādreiz būs jānomaina.

Salokāmās ierīces, tostarp Google Pixel Fold modeļi, nav tieši vienas no visvairāk labojamajām ierīcēm uz planētas. Faktiski Pixel 10 Pro Fold varētu būt nedaudz mazāk patērētājam draudzīgs, ja runa ir par lietotāja veiktiem remontiem. Tas arī nav gluži tik izturīgs. Pirmkārt, akumulators ir pielīmēts. Tas apgrūtina tā iegūšanu un noņemšanu, pat ja jums ir pareizie rīki darba veikšanai. Google veiktās dizaina izmaiņas gaidāmajam modelim var mēģināt labot šo situāciju.

Baumas liecina, ka Pixel 11 Pro Fold akumulators būs noņemams

Saskaņā ar ziņojumu no Hypertxt un David no @xleaks 7, Google nesen iesniegtais patents parāda tālruņa iekšējā dizaina daļas, kas ietver atjauninātu akumulatora segmentu. Tiek ziņots, ka akumulators tiek piegādāts bez līmes, kas nozīmē, ka to var noņemt, vienkārši izņemot dažus mehāniskus gabalus, kas ir paredzēti, lai to noturētu vietā.

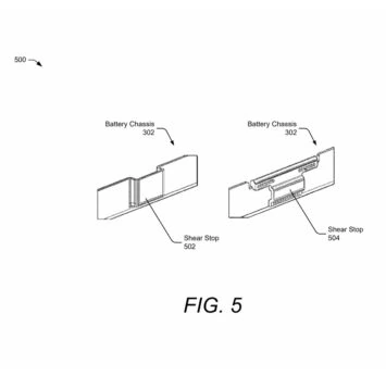
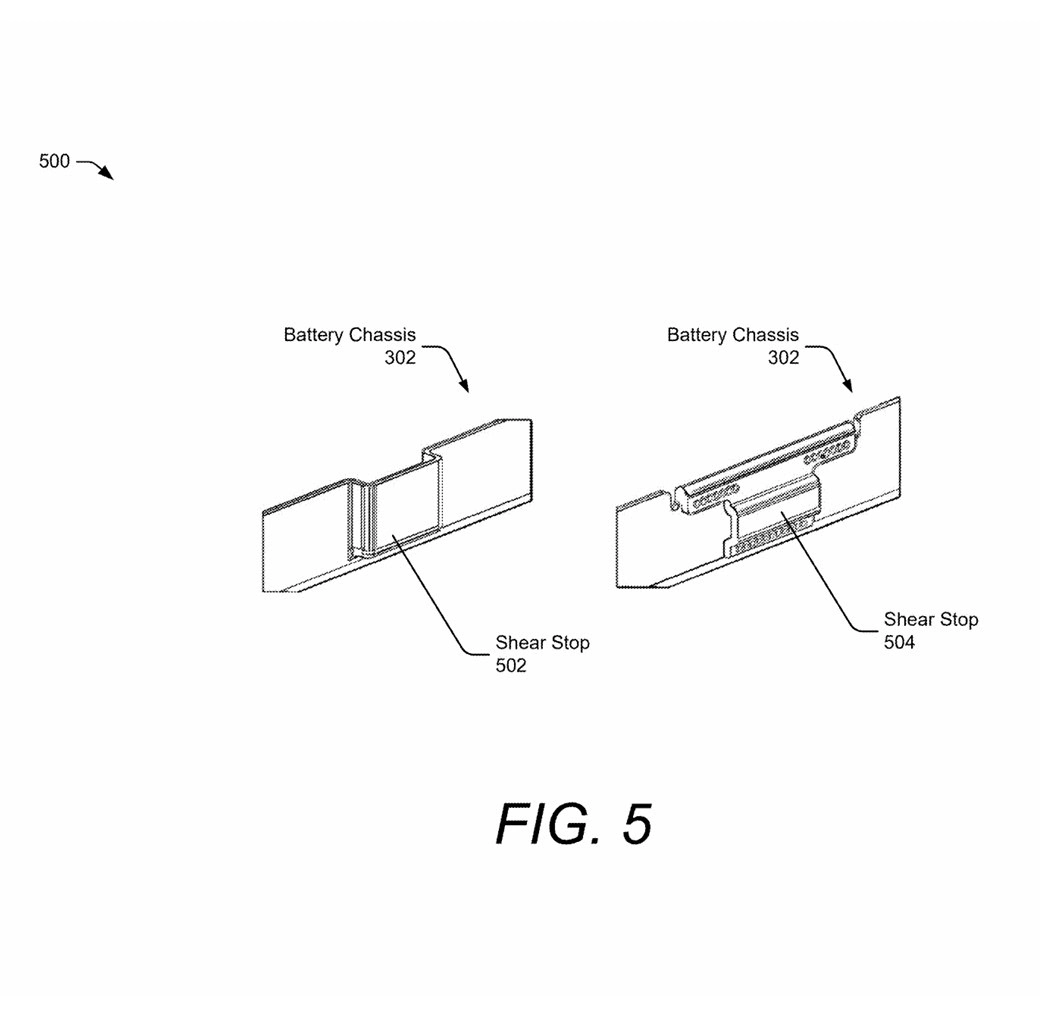
Patentā ir parādīts dizains, kurā akumulators “ieslīd formas kabatā, akumulatoru turot vietā mehāniski”. Arī šasija, kurā atrodas akumulators, ir izgatavota no metāla, lai akumulators būtu iezemēts, un tajā ir bīdes atturas, lai neļautu akumulatoram kustēties vai griezties. Ir arī norādīts, ka dizains atstāj vietu bezvadu uzlādei, kas joprojām ir iekļauta. Tāpēc neizskatās, ka šis jaunais dizains liktu lietotājiem no tā atteikties.

Ir vērts paturēt prātā, ka, tā kā šis ir tikai patents, nav garantijas, ka tas kļūs par tālruņa sērijveida versiju. Google varētu patentēt šo dizainu un nekad to neizmantot. Tas var arī beigties ar testēšanu, taču nolemj, ka galu galā tas īsti nedarbosies. Šobrīd viss ir iespējams. Tomēr tā ir aizraujoša iespēja, kas noteikti padarītu patērētājiem draudzīgāku ierīci. Akumulatori, kurus notur līme, ir diezgan pret patērētājiem. Tāpēc, cerams, Google nolemj padarīt akumulatoru viegli noņemamu.

Pixel 11 Pro Fold akumulatora patents (2)

Pixel 11 Pro Fold akumulatora patents (1)
Pixel 11 Pro Fold akumulatora patents (2)