Patentu iesniegšana ir izplatīta prakse tehnoloģiju uzņēmumu vidū. Tas ļauj viņiem nodrošināt savu nākotnes produktu dizainu vai tehnoloģijas, ko viņi varētu izmantot nākotnē. Pagājušā gada beigās Samsung patents atklāja savus nākotnes viedo briļļu plānus. Tagad ir parādījies līdzīgs patents, taču šoreiz tas liecina, ka Samsung nākotnes ierīce varētu būt aprīkota ar vadošām taustiņu pogām.
Samsung jaunajā patentā ir detalizēti aprakstīta vadošā atslēgas poga, kas plānota nākotnes ierīcei
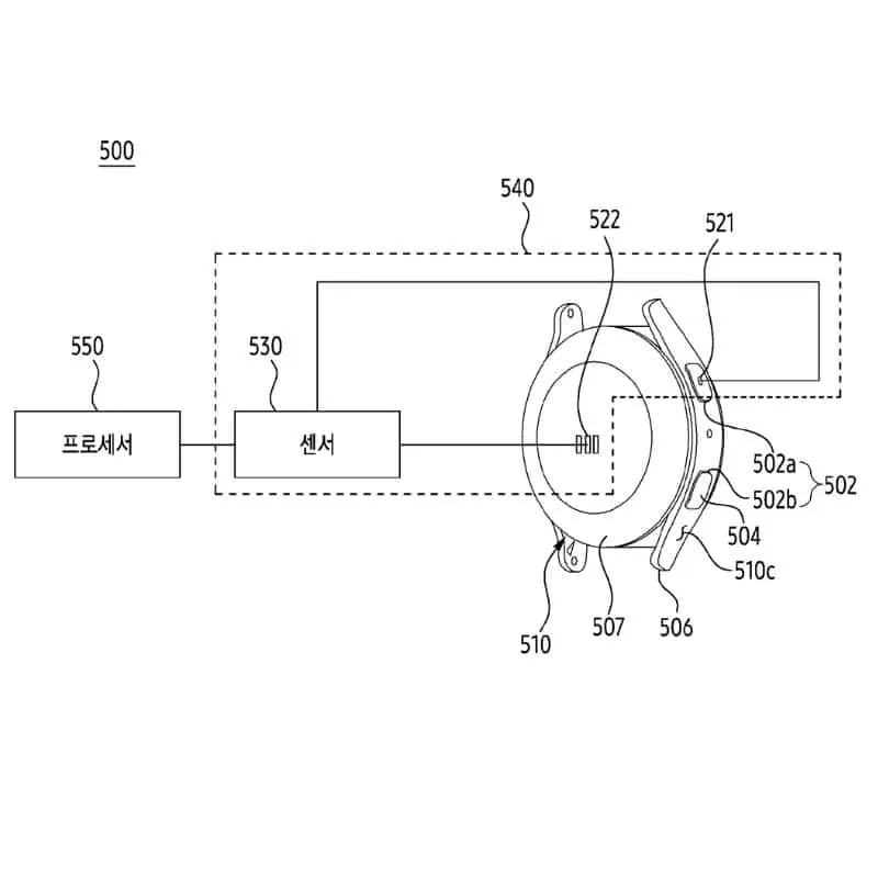
Vakar cilvēki pāri plkst 91 Mobilie tālruņi pamanīja patentu, ko Samsung iesniedza WIPO. Šajā patentā pieejamā informācija ir diezgan interesanta; tajā ir aprakstītas tādas specifikas kā potenciālais lietojums, dizains un daudz kas cits.
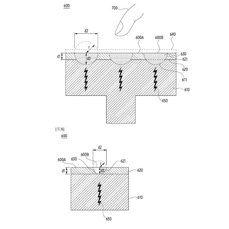
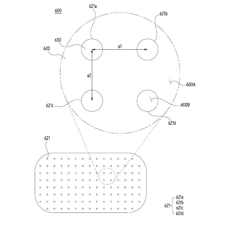
Tiem, kas interesējas, šī poga izmantos vadošu metāla slāni, kas izgatavots no nerūsējošā tērauda, alumīnija, titāna utt. Slānim jāspēj pārsūtīt lietotāju pirkstu radītās mikrostrāvas uz ierīces iekšpusē esošajiem elektriskajiem komponentiem. Saskaņā ar patentu ierīces korpusa ārpusē jūs, visticamāk, redzēsit vadošo atslēgas pogu.
Ir vērts atzīmēt, ka pogai būs arī krāsains nogulsnēšanas slānis virs metāla slāņa, lai tas atbilstu ierīces estētikai. Tas nozīmē, ka patents arī norāda, ka papildu krāsu slānis to varētu padarīt “grūti ieviest atslēgas pogai piešķirtās papildu funkcijas.” Tāpēc nogulsnēšanas slānim būs ļoti plāns krāsas pārklājums.
Poga varētu būt noderīga
Bez šaubām, skārienekrāns joprojām ir laba ievades metode jebkurā ierīcē. Taču vadošā atslēgas poga varētu piedāvāt taustāmāku ievades iespēju. Varētu būt noderīgi reģistrēt arī biometriskos datus un citu informāciju. Atcerieties, ka esošajā Galaxy Watch 6 sērijā nav nevienas šādas pogas.
Tomēr patents norāda, ka mēs faktiski varētu redzēt vadošās atslēgas pogu Samsung nākotnes valkājamās ierīcēs, piemēram, viedpulksteņos un pat viedtālruņos. Mēs nezinām, vai ierīce ar šādu pogu kādreiz izdosies. Lielāko daļu laika uzņēmumu patentētās tehnoloģijas neredz dienasgaismu.










