Ziņas par iespējamu Samsung trīskāršu viedtālruni turpina parādīties. Tas liek domāt, ka noplūde par tās ierašanos 2025. gadā ir uz pareizā ceļa. Samsung Electronics jaunākie finanšu rezultāti neatbilda gaidītajam, liekot tai reorganizēt savu stratēģiju. Jauns patents sniedz papildu informāciju par iespējamo trīskāršo Samsung viedtālruni.
Samsung Display ziņoja, ka salokāmo ekrānu pārdošanas apjomi neatbilst uzņēmuma prognozēm 2024. gadā. Daļu vainas var attiecināt uz Galaxy Z Fold 6 un Galaxy Z Flip 6, kas nepārdodas tik daudz, kā gaidīts. Situāciju veicināja arī spēcīgā konkurence no konkurentu piegādātājiem, īpaši Ķīnas piegādātājiem. Savas apgrozījuma stratēģijas ietvaros uzņēmums vairāk paļausies uz inovācijām. Tas varētu ietvert trīskāršā viedtālruņa palaišanu.
Kā Samsung varētu padarīt savu trīskāršā viedtālruni izturīgu un uzticamu saskaņā ar patentu
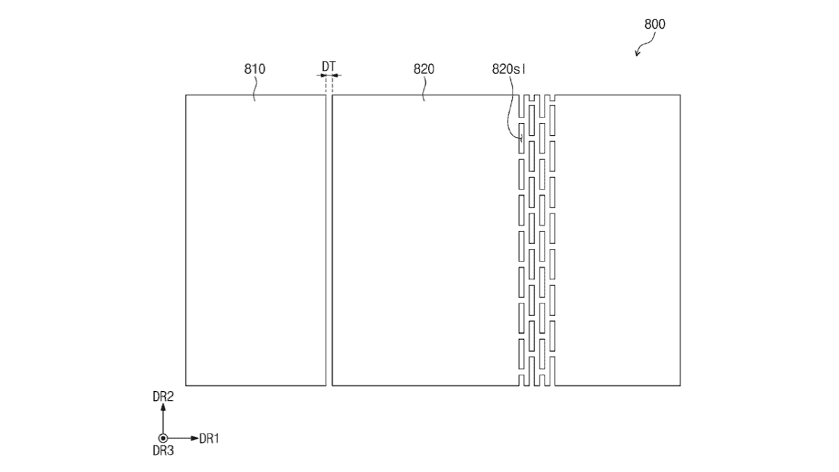
Patentā ir aprakstītas sistēmas, kuras Samsung varētu ieviest trīskāršā viedtālrunī, lai nodrošinātu ekrāna un ierīces kopējo integritāti. Galu galā salokāmās ierīces jau loģisku iemeslu dēļ ir daudz vairāk pakļautas bojājumiem nekā tradicionālās. Tātad modelim ar trīs krokām ir nepieciešami vēl vairāk drošības pasākumu.
Saskaņā ar patentu Samsung ievieš stratēģiski novietotu atveru sistēmu. Iekšējā dizaina mērķis ir samazināt spiedienu uz ekrānu locīšanas un atlocīšanas laikā. Tas arī atvieglo ierīces ekrāna pagarināšanu, izvairoties no pārmērīga spēka pielietošanas, kas varētu izraisīt bojājumus.
Ierīces korpusā ir integrēti līmes slāņi un atbalsta plāksnes, kas izgatavotas no nerūsējošā tērauda vai stikla, lai ekrāns paliktu izturīgs neatkarīgi no tā, vai tas ir salocīts vai nesalocīts. Turklāt Samsung patentā iekļāva pretatstarojošu sistēmu, kuras pamatā ir sintētisko sveķu slānis. Papildu izturībai zem ekrāna ir “vairogs”, kas neļauj vielām piekļūt. Ir pat amortizācijas sistēma iespējamu izciļņu vai kritienu gadījumā.
Samsung vairs nebūs pirmais, kas laidīs klajā trīskāršu produktu
Jāatzīmē, ka Samsung patentu USPTO iesniedza 2021. gada jūlijā. Tomēr tas tika apstiprināts tikai 2024. gada novembrī. Iespējams, uzņēmums ir izstrādājis progresīvākas tehnoloģijas, lai trīskāršā viedtālruni padarītu vēl uzticamāku un izturīgāku. Patiesībā vienā no skicēm redzams, ka aprakstītās tehnoloģijas var ieviest arī tradicionālajos salokāmajos tālruņos. Tātad, iespējams, Galaxy Z Flip un Fold ierīcēs jau ir integrētas dažas (vai visas) no tām.
Jebkurā gadījumā Samsung jau ir zaudējis cīņu par pirmo lielo zīmolu, kas laidis klajā ierīci ar šādu formas faktoru. Huawei ieguva kroni, ieviešot Huawei Mate XT Ultimate Design.






