Apple ir mēģinājis gadiem ilgi Iekļaujiet asinsspiediena mērīšanas funkciju Savā Apple Watch, bet uzņēmums turpina saskarties ar svarīgiem tehniskiem šķēršļiem, kas kavē tā palaišanu. Neskatoties uz radītajām baumām un cerībām, tehnoloģija vēl nav sasniegusi ticamības līmeni, kas nepieciešams patēriņa ierīcē. Faktiski, šķiet, viss ir sarežģīts saskaņā ar Marka Gurmana jaunāko informāciju.
Tāls attīstības ceļš
Kopš 2022. gada ir ziņots, ka Apple plāni pievieno šo funkciju jūsu viedpulkstenim. Sākotnēji varētu gaidīt nākotnes Apple Watch Atklājiet asinsspiediena izmaiņas un brīdināt lietotājus Anomālu vērtību gadījumā. Tomēr sākotnējā versija nepiedāvātu precīzus sistoliskā un diastoliskā spiediena mērījumus, kas lika Apple turpināt strādāt uzlabotā versijā.
2023. gadā ziņojumos tika norādīts, ka funkciju var atbrīvot Apple Watch Series 10bet beidzot tas nenotika. Vēlāk, 2024. gada beigās, dažas noplūdes norādīja, ka Apple paātrina attīstības procesu, cerot, ka tas būs gatavs līdz 2025. gadam. Tomēr pēdējie ziņojumi, izmantojot Marku Gurmanu, liek domāt, ka funkcija paliek, neizpildot nepieciešamos standartus, un tās palaišana varētu tikt atlikta uz nenoteiktu laiku.

Tehnoloģiskie izaicinājumi Apple Watch
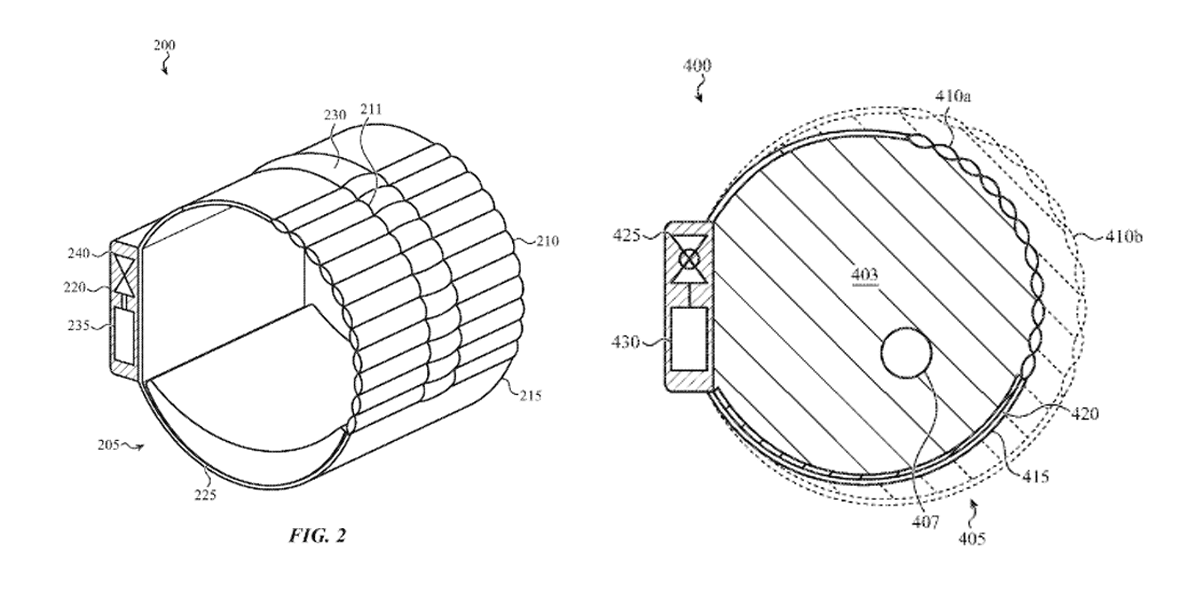
Atšķirībā no citiem veselības uzraudzības rīkiem, kas jau ieviesti Apple Watch, piemēram, asiņu skābekļa sensors vai elektrokardiogramma, Asinsspiediena mērīšana ir daudz sarežģītākaApvidū Precizitāte ir atslēga, lai izvairītos no kļūdainām diagnozēm vai nevajadzīgām trauksmēm, kuru dēļ Apple prasa vairāk laika, nekā paredzēts, lai izstrādātu šo funkciju. Turklāt Apple patentu ieraksti norāda, ka viņi meklē jaunas tehnoloģijas, lai risinātu šo problēmu.
Galvenā problēma slēpjas pulksteņa spējā, lai izmērītu asinsspiedienu Nav nepieciešams piepūšama piedurkne tradicionāls. Citi uzņēmumi ir mēģinājuši atrisināt šo izaicinājumu ar alternatīviem optiskajiem sensoriem un metodēm, bet līdz šim Neviens risinājums nav sasniedzis parasto medicīnisko aprīkojuma uzticamībuApvidū Šķiet, ka Apple iet pa to pašu ceļu, meklējot tehnoloģiju, kas ir pietiekami precīzi, lai to izmantotu kā atsauces instrumentu asinsspiediena uzraudzībā.
Funkcija, kas varētu glābt dzīvības: asinsspiediens uz plaukstas
Tā kā tiek sasniegta tā ieviešana, šī īpašība varētu būt ļoti noderīga miljoniem cilvēku. Līdz Hipertensija ir klusa slimība Tas, ka daudzas reizes paliek nepamanīts, līdz tas rada nopietnas veselības problēmas, piemēram, sirdslēkmes vai negadījumus. Apple Watch, kas spēj noteikt asinsspiediena izmaiņas un lietotāju brīdinājumus patoloģisku vērtību gadījumā, varētu palīdzēt identificēt problēmu, pirms tā kļūst par ārkārtas situāciju. Faktiski konkurence, piemēram, Samsung, arī sacenšas piedāvāt uzlabotu veselības uzraudzību.
Apple vairākas reizes ir interese par viedo pulksteni pārveidot par a Papildu veselības rīksApvidū Iespēja piedāvāt brīdinājumus par asinsspiediena svārstībām lieliski saskan ar šo redzējumu, papildinot citas ierīcē jau esošās funkcijas.

Kad tas būs pieejams?
Ar nepārtrauktu kavēšanos un oficiālās informācijas trūkumu, Ir grūti paredzēt, kad Apple izdosies palaist šo funkcijuApvidū Kaut arī dažas baumas norādīja uz 2025. gadu kā iespējamo datumu, jaunākā informācija norāda, ka joprojām var notikt vairāki gadi, pirms tehnoloģija ir gatava iekļaut Apple Watch.
Apple parasti ir piesardzīgs, ieviešot jaunas funkcijas savās ierīcēs, it īpaši, ja runa ir par veselību. Uzņēmums par prioritāti izvirza precizitāti un drošību, nevis ātrumu, kas nozīmē, ka, iespējams, Mēs neredzēsim šo funkciju, kamēr nesasniegs pieņemamu uzticamības līmeniApvidū Ja testi nepiedāvā apmierinošus rezultātus, Apple varētu pat pilnībā atmest ideju.